神剑股份今日跌2.21%,有4家机构专用席位净卖出2.14亿元
来源:admin
网站:元股证券|高效配资炒股平台让投资更简单
日期:2026-04-10 17:19:32
查看:84
巨力索具今日涨停,2家机构专用席位净买入1.39亿元
1分钟前
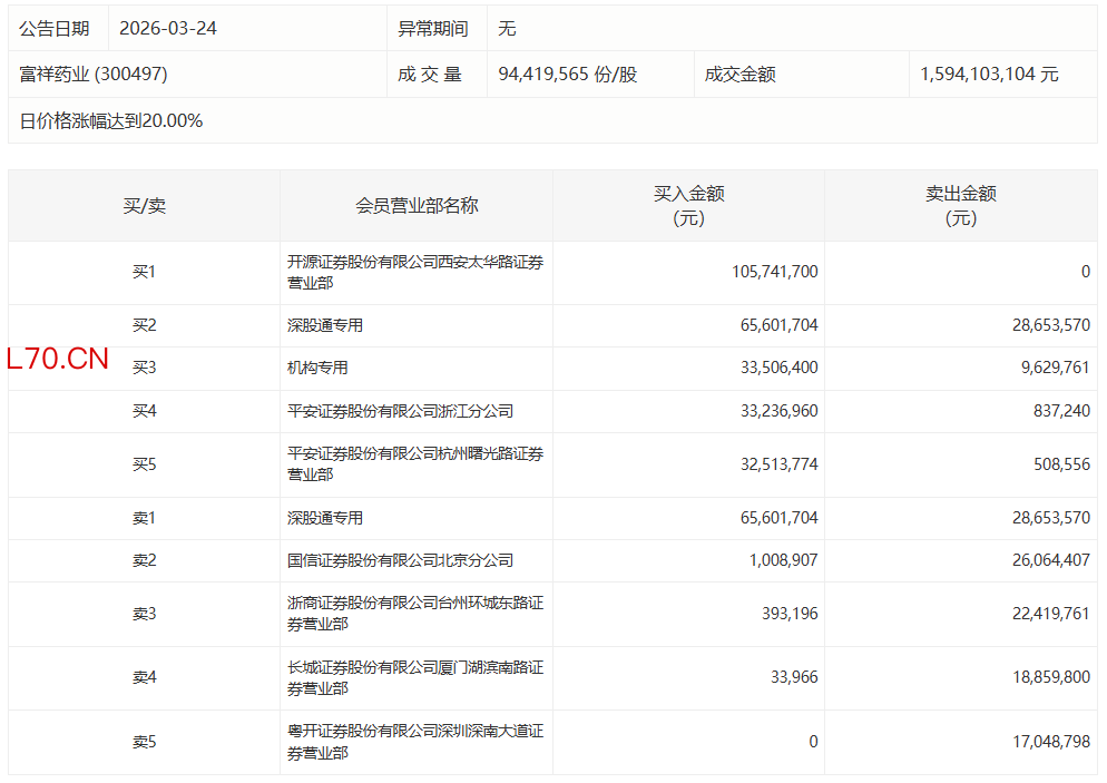
富祥药业今日20%涨停,开源证券西安太华路证券营业部净买入1.06亿元
年度分红汇总丨这家公司预计派发现金红利超47亿元
一周主力丨通信板块获资金青睐 中际旭创获抢筹超46亿元
年度分红汇总丨这家公司预计派发现金红利超107亿元港股服务信息网